执行器知识 当前位置: 电动阀门厂家> 新闻资讯> 执行器知识> 【电动调节阀】三种多级降压结构的调节阀对比分析
在现代工业生产过程中,电动调节阀是用于控制系统改变管路中流体流量的装置,是管系中的终端控制元件,起着分配流体介质、调节流体流量等重要作用。本文对常见的各类多级降压电动调节阀的结构、工作原理及特点分别进行介绍。为用户了解多级降压电动调节阀的特点并合理选用提供了参考。


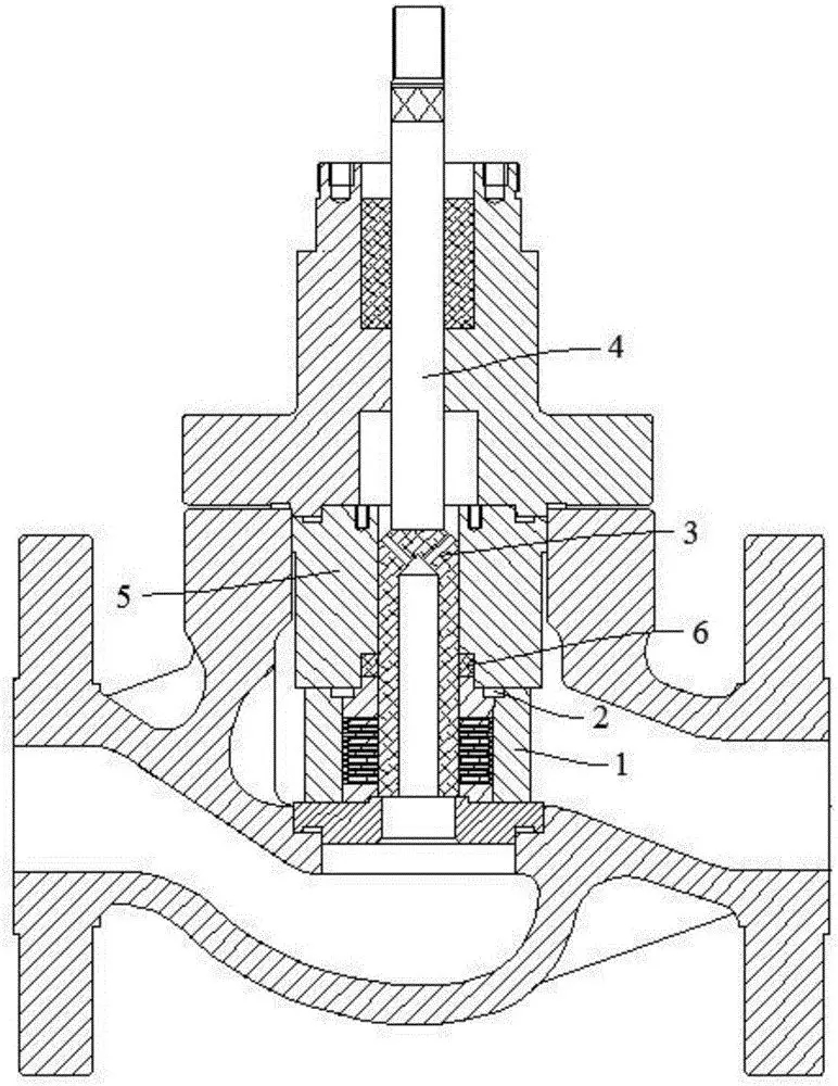
串级式多级降压结构如图1所示,这种结构把原本的一个整体的节流区域以多个分开的节流区域互相串联,从而使较大的压差转换为多个较小的压差,使每一次的降压范围都控制在饱和蒸汽压以上,使空化现象不再出现。


图1 串级式电动调节阀
串级式电动调节阀多用于液体介质工作的场合,其特点在于:
1)启闭过程中能够减轻持续压差,每一级节流口的动作均滞后于上一级节流口,可以使在启闭过程时作用于阀口的持续高压逐级减轻,分担了di一级节流口的压力。
2)流阻较小,可以胜任流体清洁度不高,甚Zhi固液两相流的场合。
3)串级式阀芯一般进行碳化钨喷涂硬化处理,抗冲刷汽蚀性能良好。
4)制造过程与其他多级降压调节阀相比工艺较为简单,加工方便,制造成本也较为低廉。
5)串级式调节阀一般降压级数有限,多为3~4级,不能应用于压差过高的场合。
多层套筒式调节阀典型结构特征是阀芯部分节流件由数层加工有小孔的套筒构成,每层套筒之间都留有一定的间隙,使流体流经套筒时得以缓冲,从而将流体速度控制在一定范围内。
多层套筒式多级降压结构如图2所示,经常用于电站或化工等行业中。

图2 多层套筒式电动调节阀
其特点在于:
1)多级套筒式电动调节阀降压级数可以设计得较大,降压能力与串级式相比较强,能够胜任高压差的场合。
2)多层套筒式结构既能满足较高的压降要求,同时又能在工作时保证较大的流量。
3)抗汽蚀性能良好,用于液体介质时,流体由Zui外侧套筒流向Zui内侧,液体介质在套筒中逐级降压以减轻空化汽蚀现象的发生,并且流体Zui终从内侧套筒上的小孔中喷射Zhi中心阀腔区域,使汽泡在套筒中心部位破裂,不直接对阀门金属表面产生伤害。
4)抗噪声、振动性能良好,用于气体介质时由套筒内侧向外流动,靠外侧套筒的孔径和间隙与内侧相比均有所扩大,使气体介质在逐级降压过程中不断膨胀,可以有Xiao地降低噪声及振动带来的危害。
5)套筒加工过程比较复杂,成本较高。但安装与维护简便,易于更换。
迷宫盘片式多级降压结构如图3所示,其核心节流部分由多个开有迷宫式沟槽的金属盘片叠加而成。流体流经迷宫流道中经过多次碰撞转折,消耗能量,在逐级降压过程的同时,使流速也得到了控制。


图3 迷宫式电动调节阀
一般多用于核能、电站等行业中高温高压降的特殊场合,工作介质多为过热蒸汽,也能用于液体介质。其特点如下:
1)迷宫流道的拐弯级数就是迷宫式调节阀的降压级数,一般可达十几到二十几级,所以迷宫式多级降压结构是常见多级降压调节阀中降压能力Zui强的,国外有产品Zui高可以达40mpa。
2)出色的抗汽蚀冲刷及消声减振性能,多级拐弯迷宫式流道可以有Xiao地控制流体流速,避免空化、噪声及振动等不良现象的发生。
3)通过使用不同形式的迷宫盘片进行组合,迷宫式调节阀可以达到不同的流量特性调节曲线。
4)迷宫式盘片制造精度要求很高,一般由司太立合金堆焊,有较长的使用寿命;安装与维护比较简便,盘片易更换。
5)迷宫式流道对流体介质的清洁度要求较高,否则迷宫流道容易发生堵塞。
AOXIANG致力于研发,设计,制造各种电动执行器、电动阀门(电动蝶阀、电动球阀、电动闸阀、电动调节阀)等已有20余年历史,凭借多年丰富的现场应用经验,为压力,流量和液位等流体控制应用领域提供电动阀门、电动执行器(角行程电动执行器、直行程电动执行器、多回转电动执行器)、电动蝶阀、电动球阀及解决方案。